Com a companyia d'automòbils de renom mundial, Mazda fa temps que vol reduir el pes tant com sigui possible. El seu cotxe esportiu insígnia, el MX-5 Miata, pesa menys de 2.400 lliures, gràcies a l'estratègia de l'empresa de mantenir el pes el més baix possible. Tanmateix, hi ha d'haver un canvi més fonamental en l'estratègia de pes lleuger del vehicle, i el fabricant d'automòbils japonès sembla estar buscant nous materials per als seus propers productes.

Després d'haver obtingut una patent recentment, aquest fabricant d'automòbils ha detallat els mètodes i processos per fabricar aquest vehicle. La patent no descriu un model de cotxe concret però esmenta que tindrà quatre portes. Malauradament, si el fabricant decideix produir aquest estil de cotxe, sembla poc probable que sigui un cotxe esportiu; més aviat, segons els processos d'acompanyament, és molt probable que sigui una berlina.

Per tant, amb una alta probabilitat, Mazda pot estar investigant aquesta tecnologia per reduir el pes dels cotxes a l'era de l'electrificació. Altres patents revelades recentment pel fabricant d'automòbils indiquen que s'està treballant dur per crear més vehicles híbrids i totalment elèctrics, tots dos normalment més pesats que els motors de combustió interna pura. Una manera de fer front a aquesta massa addicional és eliminar-la del següent component més pesat del cotxe, després del tren de propulsió, la carrosseria i el xassís.
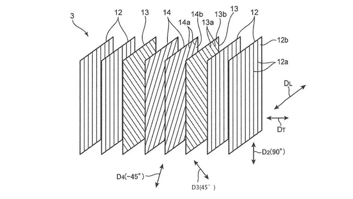
El fabricant d'automòbils sembla especialment interessat en entrellaçar capes de fibra de carboni en diferents direccions per crear un material anomenat "quasi-isòtrop", el que significa que pot crear un material que sigui fort en totes les direccions on s'apliquen càrregues. Aquesta tecnologia patentada no només defineix com fabricar aquest material sinó que també enumera diversos perfils per a diferents parts del cotxe. Es mostra que els pilars que suporten el sostre, les bigues longitudinals del marc i els para-xocs tenen diferents seccions transversals.

Dissenyant fibra de carboni en diferents direccions, Maz Dissenyant fibra de carboni en diferents direccions, el material compost Maz que és fort al llarg, és poc probable que produeixin xassís complet de fibra de carboni en el seu procés de fabricació habitual d'automòbils. En comptes d'això, consideraran utilitzar fibra de carboni només en zones seleccionades del cotxe, com ara els pilars del sostre, les estructures d'impacte frontal, les plaques d'ampit i els rails del marc.
Segons els detalls legals del document de patent, Mazda no va desenvolupar de manera independent aquest xassís de fibra de carboni; la patent també s'ha cedit a Nippon Steel Chemical Materials Co., Ltd. En altres paraules, és probable que aquesta empresa sigui el soci de Mazda en el desenvolupament d'estructures de fibra de carboni.
Encara que no podem estar segurs de quan o si els cotxes Mazda amb xassís de fibra de carboni sortiran al carrer basant-se únicament en aquesta tecnologia de patents divulgada públicament, potser un dia aviat, Mazda podria vendre un sedan híbrid o elèctric que sigui molt més lleuger que els seus competidors a causa del ús de materials estructurals de fibra de carboni. El futur espera la nostra observació.

